攪拌器 知識
攪拌器知識(一)
一、攪拌器定義:
攪拌器又稱攪拌槳或攪拌葉輪,是攪拌反應器的關鍵部件。
二、攪拌器功能:
提供攪拌過程所需要的能量和適宜的流動狀態,以達到攪拌過程的目的。 包括:
1、產生強大的總體流動,以達到宏觀均勻 ;
2、產生強烈的湍動,使液體微團尺寸減小 。
三、攪拌器工作原理:
攪拌器從電動機獲得機械能,推動物料(流體)運動。攪拌器旋轉時把機械能傳遞給流體,在攪拌器附近形成高湍動的充分混合區,并產生一股高速射流推動液體在攪拌容器內循環流動。
四、攪拌器和流型的關系:
1.流型與攪拌效果、攪拌功率的關系十分密切。攪拌器的改進和新型攪拌器的開發往往從流型著手。
2.流型的決定因素:取決于攪拌器的形式、攪拌容器和內構件幾何特征,以及流體性質、攪拌器轉速等因素。漿葉旋轉運動,產生能量,作用于液體,形成流動狀態。關鍵在漿葉,也與其它因素有關,如介質特性,攪拌器的工作環境等。
【注】流型:體循環流動的途徑。
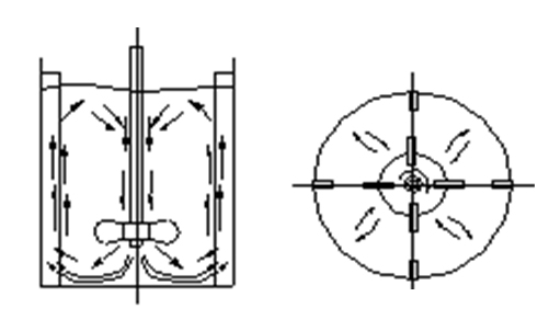
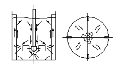
五、攪拌器和3種基本流型
攪拌機頂插式中心安裝立式圓筒的三種基本流型:徑向流、軸向流、切向流。三種流型通常同時存在, 軸向流與徑向流對混合起主要作用, 切向流應加以抑制, 采用擋板可削弱切向流,增強軸向流和徑向流。
1.徑向流:
流體流動方向垂直于攪拌軸,沿徑向流動,碰到容器壁面分成二股流體分別向上、向下流動,再回到葉端,不穿過葉片,形成上、下二個循環流動。

圖1攪拌器與流型(a) 徑向流
2.軸向流:
流體流動方向平行于攪拌軸,流體由槳葉推動,使流體向下流動,遇到容器底面再向上翻,形成上下循環流。

圖2 攪拌器與流型(b) 軸向流
3.切向流:
無擋板的容器內,流體繞軸作旋轉運動,流速高時液體表面會形成漩渦,流體從槳葉周圍周向卷吸至槳葉區的流量很小,混合效果很差。

圖3 攪拌器與流型(c) 切向流
六、攪拌器的種類:
以下從攪拌和流型的關系、攪拌器的外形結構以及攪拌的用途3個方面對攪拌器進行詳細分類:
1.按流體流動形態分:
軸向流攪拌器、徑向流攪拌器、混合流攪拌器
2.按結構分類:
1)平葉:槳式、渦輪式、框式和錨式的槳葉都有平葉和折葉兩種結構
2)折葉:
3)螺旋面葉:推進式、螺桿式和螺帶式的槳葉為螺旋面葉
3.按攪拌用途分:
1)低粘度流體用攪拌器:推進式、長薄葉螺旋槳、槳式、開啟渦輪式、圓盤渦輪式、布魯馬金式、板框槳式、三葉后彎式、MIG和改進MIG等。
2)高粘度流體用攪拌器:錨式、框式、鋸齒圓盤式、螺旋槳式、螺帶式(單螺帶、雙螺帶)、螺旋—螺帶式等。
槳式、推進式、渦輪式和錨式攪拌器在攪拌反應設備中應用最為廣泛,據統計約占攪拌器總數的75~80%。
七、攪拌器的選擇思路:
1)攪拌器選型一般從3個方面考慮:攪拌的目的、物料粘度和攪拌器容積的大小。
2)選用時除滿足工藝要求外,還用考慮功耗、操作費用,以及制造、維護和檢修等因素。
以上是關于攪拌器的知識匯總,本欄目知識僅供參考,具體了解攪拌器以及具體條件下的攪拌器選型,可致電15995049000何工詳細咨詢,想了解其他各種分類攪拌器的定義、適用范圍和相關參數,可點擊《攪拌器知識二》。
(本文內容來源于網絡和相關行業專業資料,由中實三水整理 m.yn989.com )
【相關技術知識】
● 攪拌 知識



